收入最高的理财产品很好找,但真不知道是不是最靠谱的!但是,只要是银行自营理财产品,风险不会太大,至少可以保证本金的安全!

理财产品收入通过数据查询,2018年目前销售的银行理财产品收入如下:

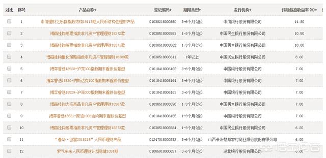
从上图可以清楚地看到,在我行自营理财产品中,收益最高的是中信银行发行的指数型结构性理财产品,预期最高收益率可达14.80%;十大银行理财产品大部分都是结构性的股指挂钩产品,最低收益率可以达到6.20%!

结构性理财产品本行的结构性理财产品主要由“存款期权”这一基本结构组成。前者是在保证收益的基础上保证投资本金的安全,后者主要是与不同的金融衍生工具挂钩,获得更高的投资收益!虽然产品都是非保本浮动收益,但银行在销售时不承诺保本或保本收益;但由于结构性产品的特点,实际上可以达到保障最低收入的效果!
我们以18113年乐赢指数结构收益率最高的结构性理财产品为例。5万元起,产品期限3-6个月,风险等级R2,本金非常安全,预期最低收益率2.80%,最高收益率14.80%。换句话说,即使与产品挂钩的金融工具存在风险,投资者至少可以获得2.80%的保证回报!
总之,从目前发售的银行理财产品来看,中信银行的结构性理财产品预期收益最高,而且相当可靠!欢迎在评论区留言!请点击关注财务问题,记得多多夸奖!
免责声明
本文仅代表作者观点,不代表本站立场,著作权归作者所有;作者投稿可能会经本站编辑修改或补充;本网站为服务于中国中小企业的公益性网站,部分文章来源于网络,百业信息网发布此文仅为传递信息,不代表百业信息网赞同其观点,不对内容真实性负责,仅供用户参考之用,不构成任何投资、使用建议。请读者自行核实真实性,以及可能存在的风险,任何后果均由读者自行承担。如广大用户朋友,发现稿件存在不实报道,欢迎读者反馈、纠正、举报问题;如有侵权,请反馈联系删除。(反馈入口)
本文链接:https://www.byxxw.com/zixun/4565.html- 上一篇: 如何选择银行理财产品?
- 下一篇: 哪家银行的美元融资回报率高?








